how to site

How To Ground A Generator

Understanding Portable Generators
www.omafra.gov.on.ca

Grounding Requirements For Portable Generators Jade Learning
www.jadelearning.com

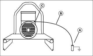
Do Honda Portable Generators Have To Be Grounded Lighting Cinematography Com
cinematography.com

Https Service Multiquip Com Files 2 20190326 073209 Pdf

Ground Power Generator
www.slideshare.net

Do Honda Portable Generators Have To Be Grounded Lighting Cinematography Com
cinematography.com

Tools and equipment to ground your generator step 1.

How to ground a generator. Install the ground rodselect an. Identify the grounding lug on the generator frame. In grounding the additional connection is made between the generator body and earth with the help of a metal rod which is driven deep into the ground.

The lug is usually a screw or a pole labeled grnd or. Neutral bonding and floating neutral is the same but differ when referred to different machines. Drive the copper grounding rod at least 4 feet into the ground.

If the terrain is rocky the rod can be buried at an. So how is this done. Attach the stranded copper wire to the grounding lug by wrapping exposed copper strands around the fastener and.

Lugs and connectors its common. How to ground a portable generator step 1. Use the pliers to wrap the copper wire tightly around the grounding rod.

Strip the copper wire. Once you have prepared all your materials and you have practiced all safety precautions here are a couple of steps you should follow. Connect copper wire to grounding roduse your wire strippers to strip out about six to 12 inches of insulation.

Hammer in the copper grounding rodthe copper grounding rod should be hammered into the ground or buried at. How to ground a generator grounding rod ive seen a lot of conflicting information with regards to grounding rod requirements so i want to.

How To Ground A Generator Correctly Ultimate Guide
www.trustedhints.com

Portable Generator Grounding Electrician Talk
www.electriciantalk.com

How To Ground A Portable Generator View 3 Easy Steps
generatorgrid.com

How To Ground A Portable Generator View 3 Easy Steps
generatorgrid.com

How To Ground A Portable Generator Safely With Video
powersupplyzone.com

How To Ground A Generator
www.techgyd.com

Generators For Bicycle Lighting
www.sheldonbrown.com

Grounding A Generator A How To Manual Generator Expert
gelawncare.com

How To Ground A Generator Naijaloaded
www.naijaloaded.com.ng

News Page 2 Of 3 Ftg Equipment Solutions Inc
ftgequipment.com

Tips For Using Emergency Generators Emergency Generator Home Safety Tips Home Safety
www.pinterest.com

Rv Net Open Roads Forum Tech Issues Earth Grounding A Generator
www.rv.net

How To Ground A Generator When Camping A Step By Step Guide Survival Cooking
www.survival-cooking.com

Using An Earthed Function Generator With An Earthed Oscilloscope And Ground Loops Electrical Engineering Stack Exchange
electronics.stackexchange.com

How To Ground A Generator When Camping 11 Easy Tips
thecampingadvisor.com

Do Honda Portable Generators Have To Be Grounded Lighting Cinematography Com
cinematography.com

Synchronous Generator Stator Winding Ground Fault Protection Basic And Tutorials Transmission Lines Design And Electrical Engineering Hub
www.transmission-line.net

Portable Generators And Your Home S Electrical Ground Norwall Powersystems Blog
blog.norwall.com

Ground Power Generator Review Is It Real Or Fake Find Out Now Booth 79
www.booth79.com

Joseph Wilkinson S Ground Power Generator Review Ebook Reviews
ebook.reviews

How To Ground A Generator When Camping 4 Simple Steps Docrina
docrina.com

Consulting Specifying Engineer Grounding And Bonding In Commercial Buildings
www.csemag.com

Figure 4 2 Grounding Generator Set
dieselgenerators.tpub.com

How To Ground A Portable Generator Needs Requirements And Process
generatorbible.com

Rvelectricity Parallel Generator Neutral Bonding Rv Travel
www.rvtravel.com

How To Ground A Generator When Camping
campingaxs.com

Generator Bonding Plug Micro Air Inc
www.microair.net

Http Ewh Ieee Org R6 San Francisco Ias Archive Pdf Archived Presentations 2010 11 Ias Presentation Pdf

Correctly Grounding A House With Back Up Generator And Multiple Sub Panels Doityourself Com Community Forums
www.doityourself.com

Safety Photo Of The Day How Not To Ground A Generator Ehs Safety News America
ehssafetynewsamerica.com

How To Ground A Portable Generator Safely With Video
powersupplyzone.com

Sandy And Dan S Last Project Page
www.breyfogle.com

Does My Generator Need To Be Grounded
oofgrid.com

How To Ground A Generator Correctly Chainsaw Journal
www.chainsawjournal.com

Single Line To Ground Fault On Unloaded Generator Download Scientific Diagram
www.researchgate.net

How To Ground A Portable Generator How To Ground My Portable Generator Best Portable Generator Portable Generator Generation
www.pinterest.com

How To Ground A Generator Grounding A Generator
www.truthsurvival.com

Https Encrypted Tbn0 Gstatic Com Images Q Tbn 3aand9gcrly0uvrbnvn653hsdk53yzukflvvvaxsc7nzff O1htzyd6imd Usqp Cau
encrypted-tbn0.gstatic.com

How To Ground A Generator When Camping In 4 Simple Steps My Backyard Life
mybackyardlife.com

Portable Generator Basics Outlets Breakers Grounding Norwall Powersystems Blog
blog.norwall.com

How To Ground The Portable Generator
www.diy-experts.net

Do I Need To Drive A Grounding Rod At The Generator Location For Residential Installs Wholesale Backup Generators For Dealers Rochester Ny Better Power Inc
www.betterpower.biz

Grounding Honda Generators Gfcis Archive Reduser Net
www.reduser.net

Grounding A Generator Bonding Ground And Floating Neutral Ground Popupportal
www.popupportal.com

How To Ground A Portable Generator Secure And Easy Process Best Portable Generator
portablegeneratorhub.com

How To Ground A Generator When Camping Wilderness Junkie
www.wildernessjunkie.net

Commercial Generator Grounding Methods Low High Impedance Hybrid Standby Prime Power
www.generatorsource.com

Ryobi 1 000 Starting Watt Gasoline Powered Portable Generator With Digital Inverter Ryi1000 The Home Depot
www.homedepot.com

How To Ground A Portable Generator Generatorgossips
www.generatorgossips.com

Grounding Requirements For Portable Generators Jade Learning
www.jadelearning.com

9 Recommended Practices For Grounding
electrical-engineering-portal.com

Commercial Generator Grounding Methods Low High Impedance Hybrid Standby Prime Power
www.generatorsource.com

How To Ground A Portable Generator When Camping
powersourcehub.com

How To Ground A Portable Generator The Complete Guide Survival Freedom
survivalfreedom.com

Grounding And Arc Welding Safety
www.lincolnelectric.com

How To Build A Ground Neutral Adapter For Rv Generator Youtube
www.youtube.com

How To Ground Your Portable Generator Generator Hero
www.generatorhero.com

Generator Grounding
www.slideshare.net

Generator Question
forums.prosoundweb.com

1
encrypted-tbn0.gstatic.com

1
encrypted-tbn0.gstatic.com

Grounding Requirements For Portable Generators Jade Learning
www.jadelearning.com

How To Ground A Portable Generator Doityourself Com
www.doityourself.com

Testing A Generator For A Floating Neutral Youtube
www.youtube.com

Grounding Portable Generator Requirements With Diagram Portablepowerzone
portablepowerzone.com

How To Ground A Generac Generator Portable Generator Portable Power Generator Generator Price
www.pinterest.com

How To Ground A Generator When Camping Woodsybond
woodsybond.com

Grounding A Generator A How To Manual Generator Expert
gelawncare.com

Commercial Generator Grounding Methods Low High Impedance Hybrid Standby Prime Power
www.generatorsource.com

Generator Grounding Mp4 Youtube
www.youtube.com

How To Ground A Portable Generator Step By Step Guide
voltagehero.com

Differences Between Bonded And Floating Neutral Generators
generatorbible.com

Rv Electricity Generator Grounding And Bonding Rv Travel
www.rvtravel.com

Ricksdiy Portable Generator Grounding Part1 Youtube
www.youtube.com

Https Encrypted Tbn0 Gstatic Com Images Q Tbn 3aand9gct9wbvp2sgl80fljtiihzvqppznf 3fclcp24bzmyj7haezni7h Usqp Cau
encrypted-tbn0.gstatic.com

How To Ground A Portable Generator
generatoradvisor.com

Https Www Americanspotcooling Com Power Rental Pdf Safetyflyer Pdf

Damaged And Old Electric Generator Dynamo Electrical Motor Put Stock Photo Picture And Royalty Free Image Image 78012161
www.123rf.com

How To Ground A Portable Generator Portable Generator Best Portable Generator Generation
www.pinterest.com

20 Kw Generator
stationproject.blog

Generator Grounding And Bonding Essentials Electrical Contractor Magazine
www.ecmag.com

How To Ground A Portable Generator Safely With Video
powersupplyzone.com

Testing Portable Generator For Ground Neutral Bond Bonding Test Ng Plug
ricksdiy.com

Rotor Ground Fault Protection Of Generator Dc Injection Method Download Scientific Diagram
www.researchgate.net

Https Cpower Com Pdf Infosheets 44 Pdf

The Correct Way To Ground A Generator Electricians
www.reddit.com

Hd Plug Play Gen Set Operator S Manual
www.screenlightandgrip.com

How To Ground A Portable Generator Needs Requirements And Process
generatorbible.com

3 Phase Generator Frame Ground Electrical Engineering Stack Exchange
electronics.stackexchange.com

Operating
manuals.deere.com

How To Ground A Generator When Camping The Generator Power
www.thegeneratorpower.com

How To Ground A Portable Generator Step By Step Guide
voltagehero.com

How To Ground A Generator When Camping Lesson For All
easytripguides.com

Generator Protection Grounding And Ground Fault Protection
jmkengineering.com

Hborkeej Kawcm

How To Ground The Portable Generator
www.diy-experts.net

It Ain T Just Dirt Grounding For Safety Part 1
www.prosoundtraining.com

Grounding Of Generators Connected To Industrial Plant Distribution Buses Semantic Scholar
www.semanticscholar.org